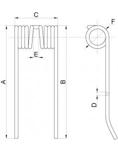
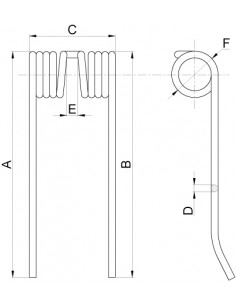
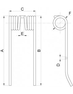
Gasket, Cylinder Head Head Gasket, Cylinder Ø 100x114x0.5 mm Quest SA2.1569.056.0/10 2.1569.056.0/10 View